【办事指南】户口迁移登记
受理条件:
公民迁移户口,以合法稳定住所、合法稳定就业为基本条件,遵循先家庭户后集体户的原则办理户口迁移。公民拟迁出本户口管辖区,符合拟迁入地户口迁移政策的,可以申请办理户口迁移登记。
整户迁移的,应当由户主或户内成年人办理。未成年子女户口迁移应当随父母,有特殊规定的从其规定。
集体户口或空挂户口人员,本人及配偶、子女在本市有住房或符合投靠条件的,应当迁出。集体户口迁移的,已随迁移人在集体户内办理户口登记的亲属应当随迁移人一并迁出。
集体土地上的户口迁移、户口冻结地区的冻结范围和时限遵从县级以上人民政府相关规定。
受理部门:户籍派出所或户政大厅。
所需材料:
一、跨省(自治区、直辖市)迁移
(一)向拟迁入地公安机关提出申请,符合当地户口迁移政策的,公安机关应当为其签发《准予迁入证明》;
(二)凭《准予迁入证明》向拟迁出地公安机关申请迁出户口,公安机关应当为其办理户口迁出登记并签发《户口迁移证》;
(三)凭居民户口簿、《准予迁入证明》、《户口迁移证》到拟迁入地公安机关办理户口迁入登记。
普通高等学校,中等职业学校录取和毕业的学生凭录取通知书、毕业(结业)证书等办理户口迁移,可以不使用《准予迁入证明》。
二、省内“一站式迁移”
我省范围内户籍居民符合居住地户口迁移政策的,可以向拟迁入地公安机关提出申请,当场办理迁入手续,不需要提供《准予迁入证明》和《户口迁移证》。
三、户口迁出省外
1、居民户口簿、居民身份证;
2、《准予迁入证明》。
四、直系亲属投靠迁入(国有土地)
(一)夫妻、子女、父母间直系亲属投靠户口迁入
1、申请人与被申请人双方居民户口簿、居民身份证;
2、直系亲属关系证明;
3、《不动产权属证书》(核验)。
(二)父母均为军人且户口均已注销的,未成年子女投靠(外)祖父母户口迁入
1、 申请人居民户口簿、居民身份证(已办理的提供);
2、父母为双军人身份说明材料;
3、户口均已注销材料(网上无法核查的提供);
4、(外)祖父母的居民户口簿;
5、父母《结婚证》;
6、直系亲属关系证明;
7、《不动产权属证书》(核验)。
五、合法稳定住所迁入(国有土地)
公民以购买、继承、租赁等合法方式取得房屋所有权、使用权的,本人及其配偶、子女、父母(含岳父母、公婆)及子女的配偶、子女等可以在房屋所在地公安机关申请办理户口迁移。
(一)取得房屋所有权的,以不动产权属证书为依据登记为家庭户
1、申请人居民户口簿、居民身份证;
2、《不动产权属证书》;
3、申请人有配偶、子女、父母等随迁的,需提供申请人与随迁人员的亲属关系证明。
4、其他产权共有人现场签署放弃户口迁移的书面报告(产权共有人为非直系亲属的提供)。
(二)租赁公有房屋的,可凭房管部门出具的公有房屋租赁证明登记为家庭户
1、 申请人居民户口簿、居民身份证;
2、申请人有配偶、子女、父母等随迁的,需提供申请人与随迁人员的亲属关系证明;
3、房管部门出具的公有房屋租赁证明。
(三)租赁非公有房屋要求迁移户口的,经房管部门备案后,应当将户口落在居住地的公共集体户上
1、申请人居民户口簿、居民身份证;
2、申请人有配偶、子女、父母等随迁的,需提供申请人与随迁人员的亲属关系证明;
3、经主管部门备案的租赁合同。
(四)《不动产权属证书》登记为未成年人的,申请户口迁入
1、《不动产权属证书》;
2、父母或监护人申请书;
3、迁移人居民户口簿、居民身份证;
4、父母或监护人与产权人关系材料。
(五)产权人不办理户口迁移,申请其直系亲属办理户口迁移
1、《不动产权属证书》;
2、产权人同意其直系亲属落户的声明报告;
3、产权人和申请人的直系亲属关系证明;
4、迁移人居民户口簿、居民身份证。
六、合法稳定就业迁入(国有土地)
因工作调动、录(聘)用、务工经商或从事公益性事业等合法稳定就业的人员,本人及其配偶、子女、父母(含岳父母、公婆)及子女的配偶、子女等可以在就业地公安机关申请办理户口迁移。
(一)工作调动申请户口迁入
1、 申请人居民户口簿、居民身份证;
2、工作调动的相关文件或批复。
3、单位接收证明(迁入单位集体户的提供);合法稳定住所相关证明(迁入家庭户的提供);无合法稳定住所证明(迁入公共集体户的提供);
4、申请人有配偶、子女、父母等随迁的,需提供申请人与随迁人员的直系亲属关系证明。
(二)录(聘)用的公务员、事业单位人员申请户口迁入
1、申请人居民户口簿、居民身份证;
2、市(县)以上主管部门出具的录(聘)用证明;
3、单位接收证明(迁入单位集体户的提供);合法稳定住所相关证明(迁入家庭户的提供);无合法稳定住所证明(迁入公共集体户的提供);
4、申请人有配偶、子女、父母等随迁的,需提供申请人与随迁人员的直系亲属关系证明。
(三)务工经商的人员申请户口迁入
1、申请人居民户口簿、居民身份证;
2、单位接收证明(迁入单位集体户的提供);合法稳定住所相关证明(迁入家庭户的提供);无合法稳定住所证明(迁入公共集体户的提供);
3、工商营业执照或劳动合同;
4、缴纳社会保险相关证明或纳税证明;
5、申请人有配偶、子女、父母等随迁的,需提供申请人与随迁人员的直系亲属关系证明。
(四)从事公益性事业等合法稳定就业的人员申请户口迁入
1、申请人居民户口簿、居民身份证;
2、单位接收证明(迁入单位集体户的提供);合法稳定住所相关证明(迁入家庭户的提供);无合法稳定住所证明(迁入公共集体户的提供);
3、工商部门颁发的《工商营业执照》、会计师事务所出具的验资报告、税务部门出具的纳税证明或兴建公益事业证明;
4、申请人有配偶、子女、父母随迁的,需提供申请人与随迁人员的直系亲属关系证明。
七、人才引进迁入(国有土地)
在我市就业的人员,获得县级以上劳动模范、先进工作者称号,以及具有中级工以上职业资格或者为其他紧缺人才的,本人及其配偶、子女、父母(含岳父母、公婆)及子女的配偶、子女等可以在就业地公安机关申请办理户口迁移。
(一)县级以上劳动模范或先进工作者申请户口迁入
1、 申请人居民户口簿、居民身份证;
2、劳动模范或先进工作者表彰证书或文件;
3、单位接收证明(迁入单位集体户的提供);合法稳定住所相关证明(迁入家庭户的提供);无合法稳定住所证明(迁入公共集体户的提供);
4、申请人有配偶、子女、父母等随迁的,需提供申请人与随迁人员的直系亲属关系证明。
(二)具有中级工以上职业资格或者为其他紧缺人才的申请户口迁入
1、 申请人居民户口簿、居民身份证;
2、职业资格证书或中专以上(含技工院校)毕业证书等;
3、单位接收证明(迁入单位集体户的提供);合法稳定住所相关证明(迁入家庭户的提供);无合法稳定住所证明(迁入公共集体户的提供);
4、申请人有配偶、子女、父母等随迁的,需提供申请人与随迁人员的直系亲属关系证明。
八、集体土地上的户口迁移
集体土地上的户口迁移,依据《淮南市人民政府关于进一步推进户籍管理制度改革的实施意见》(淮府〔2015〕94号)规定,在我市乡村拥有集体土地性质的合法稳定住所且具有居民家庭户口(散居户、空挂户或集体户除外)的人员,准予其共同居住生活的配偶、未成年子女、父母,及同户成年子女的配偶、未成年子女,可申请直系亲属投靠户口迁移。
1、被投靠人书面申请;
2、被投靠人、投靠人的合法有效身份证明;
3、被投靠人拥有房屋所有权或使用权的住房证明材料;
4、被投靠人与投靠人系直系亲属关系证明;
5、村(居)委会同意接收入户的证明。
九、大中专学生升学户口迁出
被大中专院校录取的新生,入学时可以凭录取通知书自愿选择将户口迁往学校。在校期间需迁移户口的,凭学校出具的接收证明,比照新生入学办理户口迁移。
1、 申请人居民户口簿、居民身份证;
2、录取通知书;
3、学校出具的接收证明(在校期间需迁移户口的提供)。
十、大中专学生升学户口迁入
大中专院校申报新生迁入登记时,应当向学校所在地公安派出所出具盖有招生主管部门录取专用章的录取新生名册、录取通知书和相关迁移材料。
1、 落户新生的居民户口簿(省内迁移)、《户口迁移证》(跨省迁移);
2、居民身份证;
3、录取通知书;
4、就读院校出具在读证明及同意入户证明(跨年度的提供);
5、盖有招生主管部门录取专用章的录取新生花名册(学校户口专管员办理的提供)。
十一、大中专学生毕业户口迁出
入学时已将户口迁入学校的毕业生,毕业后两年内应当将户口迁出学生集体户。入学前未将户口迁入学校的毕业生,毕业后落实就业单位的,凭毕业证、接收单位证明等证明材料办理户口迁移。
(一)大中专学生(户口系院校学生集体户)毕业户口迁往省外
1、 学校提供的毕业生花名册、户口专管员身份证件(学校户口专管员办理的提供);
2、、居民身份证、居民户口簿(已办理的提供);
3、毕业证;
4、单位接收证明(迁往就业地的提供);
5、毕业超过两年的,还需迁入地派出所出具同意入户证明。
(二)大中专学生(户口在原籍)毕业户口迁往省外
1、居民户口簿、居民身份证;
2、毕业证;
3、单位接收证明;
4、毕业超过两年的,需迁入地派出所出具户口准迁证。
十二、大中专学生毕业户口迁入
大中专毕业院校毕业生,户口未从学生集体户迁出的,毕业后两年之内可按照“来去自愿”原则,在入学前户口迁出地、现工作地(城镇)、实际居住地(城镇)自由落户。有合法稳定住所的,在常住地直接登记为家庭户;无合法稳定住所的,可以在就业地人才交流中心登记集体户或登记公共集体户。
自愿来我市工作的外省市生源的大中专以上毕业生,暂未落实工作单位的,可先行在我市落户。有合法稳定住所的,在常住地直接登记为居民家庭户;无合法稳定住所的,可落户人才交流中心集体户。
(一)大中专学生毕业户口迁入入学前户口迁出地
1、居民身份证、原户口迁出地居民户口簿;
2、申请人《户口迁移证》、(省外迁入的提供)
3、毕业证;
4、可体现直系亲属关系的证明。
(二)大中专学生毕业户口迁入现工作地
1、申请人居民户口簿(省内迁入的提供)、《户口迁移证》(省外迁入的提供);
2、居民身份证;
3、毕业证;
4、接收单位证明;
5、无合法稳定住所证明(迁入公共集体户的提供)。
(三)大中专学生毕业户口迁入现实际居住地
1、申请人居民户口簿(省内迁入的提供)、《户口迁移证》(省外迁入的提供);
2、居民身份证;
3、毕业证;
4、迁入地居民户口簿和体现直系亲属关系证明(投靠直系亲属的提供);
5、现实际居住地的合法稳定住所证明(立户的提供)。
(四)迁入人才交流中心集体户
1、申请人居民户口簿(省内迁入的提供)、《户口迁移证》(省外迁入的提供);
2、居民身份证;
3、毕业证;
4、人才交流中心同意落户介绍信。
十三、退学和被开除学籍户口迁移
入学时已将户口迁入学校学生集体户的大中专学生,就读期间不办理户口迁出手续,退学、转学和被开除学籍的除外。
(一)就读期间,因退学和被开除学籍的学生申请将户口迁出
1、申请人居民身份证、居民户口簿(已办理的提供);
2、学校或教育部门作出的退学或转学、开除的处理决定或肄业证。
(二)就读期间,因退学和被开除学籍的学生申请户口迁入原迁出地
1、学校或教育部门作出的退学或转学、开除的处理决定;
2、《户口迁移证》(省外迁入的提供);
3、原居民户口簿、居民身份证;
4、迁入地居民户口簿和体现直系亲属关系证明(投靠直系亲属的提供);
5、现实际居住地的合法稳定住所证明(立户的提供)。
十四、离婚户口迁移
夫妻双方在同一户上,离婚后需要迁移户口的,可凭离婚手续及房屋权属相关证明办理户口迁移。
(一)离婚一方申请迁出而不具备迁出条件的,公安派出所可以将其挂靠在公共集体户
1、申请人申请;
2、申请人居民户口簿、居民身份证;
3、离婚证及在民政部门备案的离婚协议书(法院判决书、调解书);
4、不具备迁出条件的证明材料(如:无合法稳定住所证明等)。
(二)离婚一方户口应当迁出而不迁移
另一方当事人可提出书面申请,凭房屋权属证明,离婚证、在民政部门备案的离婚协议书或法院判决书或调解书,到当地公安派出所申请对方户口迁出。经公安派出所调查核实并调解无效的,派出所可以经告知后将其户口挂靠公共集体户。
1、申请人申请;
2、申请人居民户口簿、居民身份证;
3、房屋权属相关证明;
4、离婚证及在民政部门备案的离婚协议书或法院判决书、调解书;
5、派出所调解书及告知情况说明。
十五、离婚后未成年子女的户口迁移
离婚后未成年子女的户口迁移,离婚双方协商一致的按协商结果办理;协商不一致的,公安派出所告知后,按照离婚证、在民政部门备案的离婚协议书或法院判决书或调解书,随有抚养权的一方迁移。
1、申请人申请;
2、居民户口簿、居民身份证;
3、离婚证及在民政部门备案的离婚协议书(法院判决书、调解书);
4、离婚双方现场签署的关于未成年子女户口迁移的协议书(协商一致的出具)或派出所调解书及告知情况说明(协商不一致,调解无效的出具);
5、父(母)与子女的关系证明;
6、被投靠人合法稳定住所证明及村(居)委会同意接收入户的证明(迁往集体土地区域提供)。
十六、非婚生子女户口迁移
非婚生子女随母入户,《出生医学证明》上无父亲信息,或《出生医学证明》上有父亲信息、随母入户后其父母仍未办理结婚证的情况下,迁移至父亲处,应当提供具有资质的鉴定机构出具的亲子鉴定证明。
1、父、母协商一致的申请;
2、申请人与被申请人居民户口簿、居民身份证;
3、具有资质的鉴定机构出具的亲子鉴定证明;
4、被投靠人合法稳定住所证明及村(居)委会同意接收入户的证明(迁往集体土地区域提供)。
十七、家属随军户口迁移
经军队政治部门批准的随军家属,可以在部队驻地公安机关办理户口迁入。
1、申请人居民户口簿、居民身份证;
2、军队政治部门批准的随军批复;
3、合法稳定住所相关证明(迁入家庭户的提供);
4、单位接收证明(迁入单位集体户的提供)。
十八、房屋所有权或者使用权转让户口迁移
合法稳定住所所有权或者使用权转让的,公安派出所依据现所有权人或者使用权人申请,应当告知住所原登记人员迁出户口;原登记人员拒不迁出或者不具备迁出条件的,公安派出所可以将其户口迁至户口所在地公共集体户。
(一)告知后拒不迁出
1、现房屋所有权人或使用权人书面申请;
2、不动产权证书(房地产权证)或房管部门出具的公有房屋租赁证明;
3、派出所户口迁移告知书。
(二)不具备迁出条件
1、申请人申请;
2、申请人居民户口簿、居民身份证;
3、无合法稳定住所证明。
十九、符合城镇落户政策且无合法稳定住所人员户口迁移
对于符合我市城镇落户政策且无合法稳定住所的人员,对于因售房、离婚等原因需要办理市内住址变动且无合法稳定住所的本地居民,可凭户主及产权人同意迁入说明及亲属关系证明或亲属关系的承诺书等材料,将户口迁入亲属户上。与户主关系,能提供亲属关系证明材料的按实际关系填写,不能提供亲属关系证明材料的按“其他亲属”填写。
1、申请人书面申请;
2、投靠人无合法稳定住所证明;
3、户主及产权人现场签署同意户口迁入的说明;
4、被投靠人《不动产权属证书》;
5、亲属关系证明材料或户主现场签署的亲属关系承诺书;
6、投靠人与被投靠人的合法有效身份证件。
二十、赡养抚养户口迁入
公民在我市有合法稳定住所,依法抚养或赡养民政部门登记的孤儿或孤寡老人,可申请孤儿或孤寡老人在我市落户。
1、申请人书面申请;
2、申请人拥有房屋所有权或使用权的住房证明材料;
3、申请人及被申请人合法有效身份证明;
4、司法部门出具的抚养或赡养协议公证书;
5、社居委出具的有关证明或社区(驻村)民警调查核实报告;
6、村(居)委会同意接收入户的证明(迁往集体土地区域提供)。
二十一、原登记的船民户口迁移
按照《安徽省住房城乡建设厅等五部门关于印发安徽省2014年度以船为家渔民上岸安居工程实施方案》(建村函〔2014〕502号)、《安徽省公安厅关于解决我省无户口渔民户籍问题的通知》(皖公治安〔2014〕167 号)等文件,对于无户口渔民,要认真核实,严格按照户口漏登补录程序办理,没有落户地址的可落公共集体户。解决了住房问题的渔民需将户口迁入实际居住地。
原按照船舶产权证书、船舶签证簿等登记的船民户口,原则上不再办理户口迁入;有合法稳定住所的应迁到合法稳定住所所在地,再申请办理人员迁入;对确无合法稳定住所,无法迁出的,仅限办理出生登记。
办理时限:现场办结。
收费依据及标准:免费。
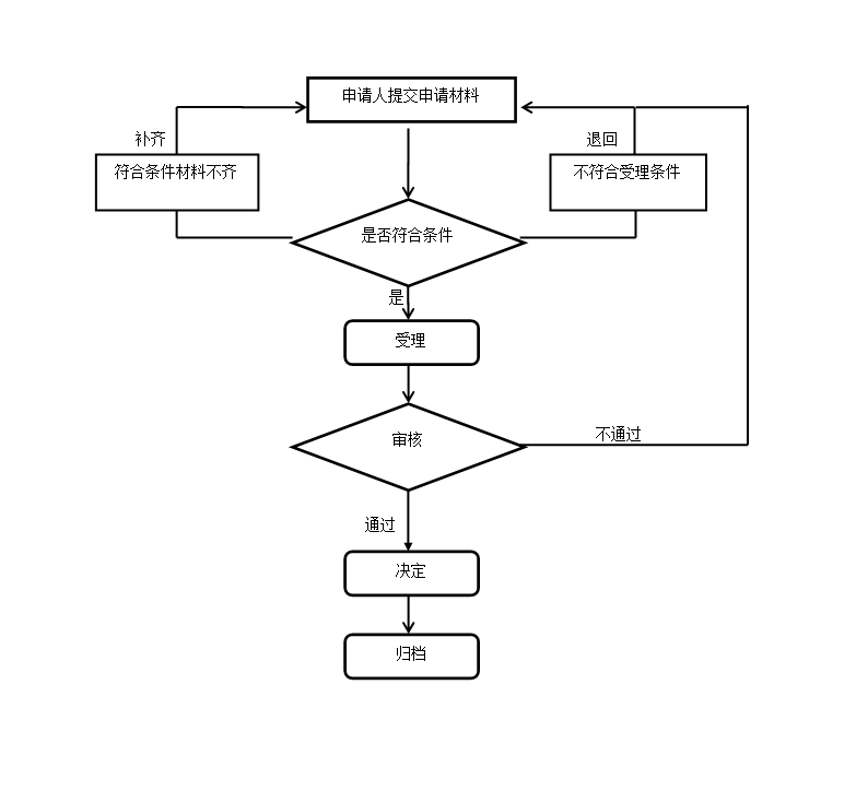
办理流程:

专题首页
政策解读
回应关切
网上办事
依申请公开