繁体
加入收藏
首页
凤台概况
领导之窗
新闻中心
政府信息公开
政务服务
互动交流
数说凤台
首页
凤台概况
领导之窗
新闻中心
政府信息公开
政务服务
互动交流
数说凤台
您的位置:
首页
>
信息公开
> 凤台县卫生健康委员会
>
行政权力
>
行政许可
>
行政许可分表和流程图
索
引
号:
003065950/202302-00018
信息分类:
行政许可分表和流程图
内容分类:
卫生、科技
发布日期:
2024-06-14 10:04
发布机构:
凤台县卫生健康委员会
成文日期:
生效时间:
废止时间:
名
称:
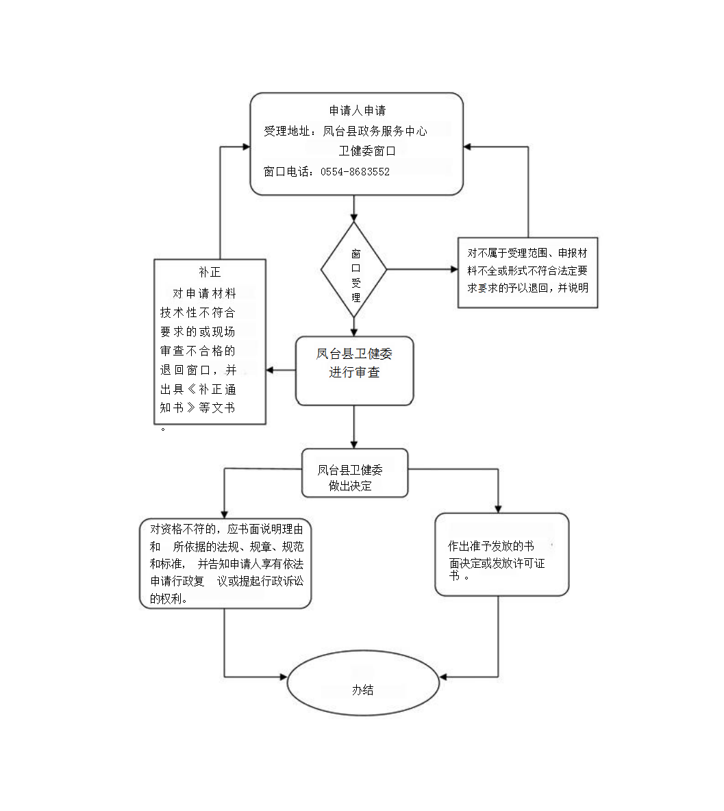
凤台县卫生健康委行政许可流程图
点
击
量:
文
号:
关
键
词:
索
引
号:
003065950/202302-00018
信息分类:
行政许可分表和流程图
内容分类:
卫生、科技
发布日期:
2024-06-14 10:04
发布机构:
凤台县卫生健康委员会
成文日期:
生效时间:
有
效
性:
名
称:
凤台县卫生健康委行政许可流程图
点
击
量:
文
号:
关
键
词:
凤台县卫生健康委行政许可流程图
发布时间:2024-06-14 10:04
信息来源:凤台县卫生健康委员会
文字大小:[
大
中
小
]
背景色:
正在更新中...
为进一步了解掌握社会公众对政策执行效果的反馈与评价,请您对该政策的制定及执行提出宝贵的意见或建议。我们将及时收集并分析,共同助力政策不断完善。
姓 名:
联系方式:
*
内 容:
*
验 证 码:
打印本页